線性滑軌的介紹
結構 种类 特性
選型方式
線性滑軌基本名词
線性滑軌注意事項
線性滑軌的『介紹』:
基本上,傳動元件的運作大致可分成為旋轉運動與直線運動兩種,我們所熟知的滾珠螺桿為旋轉運動,而此回所介紹的線性滑軌則為直線運動的傳動元件。
線性滑軌是一種高精密滾動傳動元件,藉由鋼珠或滾柱在滑塊與滑軌之間做無限滾動循環接觸,與傳統的滑動接觸傳動相比較,滾動傳動的摩擦係數可降低至原來的1/50 左右,由於起動的摩擦力大幅減少,故能輕易達到μm 級進給及定位。且線性滑軌同時具有高負荷,接觸點小、不易產生熱能,所以僅需要極小的驅動力便能使機台運行,已成為工具機、自動化、半導體製造裝置等所有直線運動部不可欠缺的零件。現代生活中,線性滑軌也開始用於鐵路車輛、巴士、自動門裝置等人們熟悉的領域。
何謂線性滑軌:
線性滑軌是由滑軌、滑塊及滾動體(鋼珠或滾柱)三大部分構成,以進行直線運動導
引為目的之低摩擦力滑動組件。![]()
TBI Motion線性滑軌是以鋼珠作為滑軌與滑塊之間的傳動介面,進行無行程限制的滾動循環之運動,同時藉著鋼珠在滑塊、滑軌間的適當尺寸搭配而將滑塊拘束在滑軌上,使得負載平台能夠沿著滑軌以高速度、高精度作直線運動。
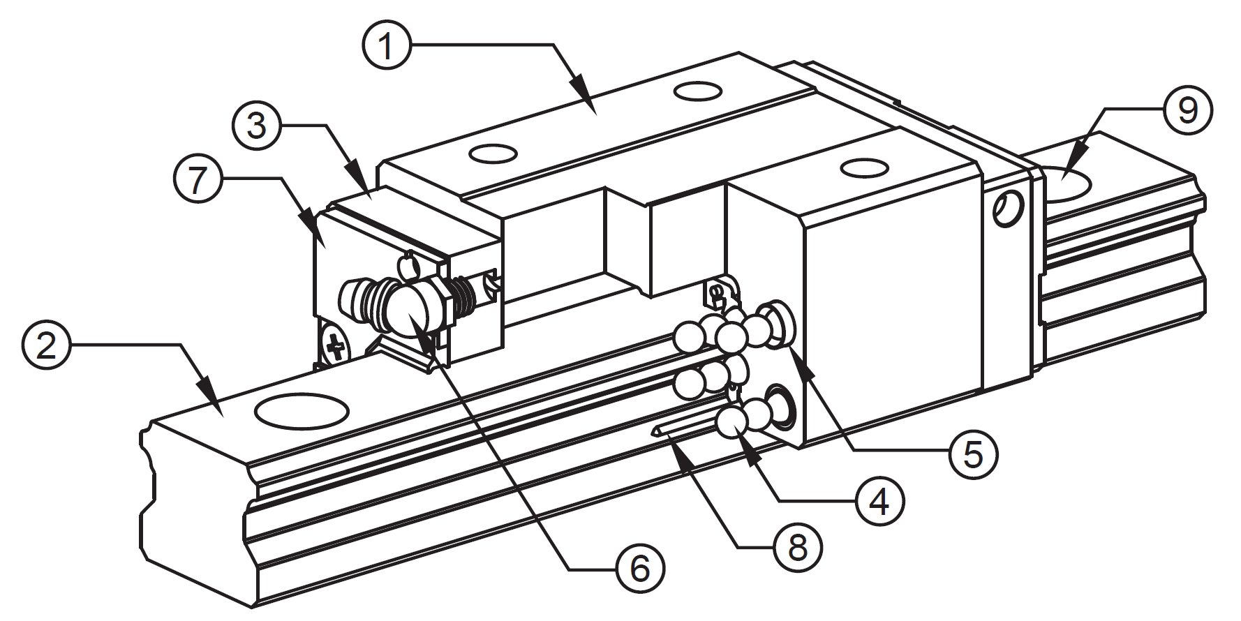
線性滑軌結構
一般而言,滾珠式線性滑軌除了滑塊、滑軌以及鋼珠三大主體之外,有下列幾個
![]()
重要的組件,其名稱及功能分述如下:
①滑塊②滑軌③端蓋④鋼珠⑤循環管⑥油嘴⑦端防塵⑧下防塵⑨孔塞
端蓋(END CAP)– 通常藉由兩片組合件來組成一個鋼珠迴流道(簡單來說就是讓鋼珠轉彎的管路),一組線性滑軌,有兩個端蓋組件分別搭接在滑塊兩端而成為一道封閉的鋼珠循環管路。
循環管(RETAINER)- 在滑塊未套上滑軌前,用來支撐著鋼珠不至於掉離滑塊。
端防塵(END SEAL)- 在滑塊兩側最外端達到密封的功能,防止粉塵及切屑侵入鋼珠的循環路徑。
下防塵(BOTTOM SEAL or SIDE SEAL)- 在滑塊底部達到密封的功能,防止粉塵及切屑侵入鋼珠的循環路徑。
線性滑軌類型
![]()
1.標準滾珠型滑軌:滑軌與軌道探用四方向等負荷設計,故對於來自於各方向之負荷,都須具有足夠的抵抗強度,且具備自動調心之能力,可允許較大的安裝誤差使加工較容易。
![]()
2.微小滾珠型滑軌:採二列式滾珠循環設計,滾珠軌道設計採歌德式結構,其接觸角為45度,以達到四方等負荷之效果;並在有限空間限制下,充分展現高負荷、高扭矩功能。
TBI MOTION線性滑軌特性
◆高精度
由於線性滑軌移動時摩擦力非常小,屬於滾動摩擦,故只需極小的動力即可驅動平台,因為摩擦力小,故而摩擦所產生的熱極小,相較於傳統的滑動方式, 可大幅降低運行軌道接觸面的磨損,能長時間維持高定位精度、行走精度與低磨損。
◆高剛性
由於滑軌與軌道探用四方向等負荷設計,故對於來自於各方向之負荷,都須具有足夠的抵抗強度,且具備自動調心之能力,可允許較大的安裝誤差使加工較容易,並可施予足夠的預壓量以獲得高剛性。
◆高速性
因滑塊與軌道及鋼珠採用滾動的點接觸,故磨擦係數極小且不易生熱,因而僅需極小之動力即可驅動機台運行,因為所需的驅動力小且功率消耗叉低,故較滑動裝置更適合於高速運行之場合使用。
◆高便利性
TBIMOTION滑軌組裝配組裝容易,使用者可以輕易上手,且防塵採可互換式設計,上、下防塵可相互共用,以達到高效節能環保之目的。
◆無間隙高機械效率
在加有預壓方式或工作負荷時,鋼珠在負荷方向以兩點接觸,差動滑動小,進而可以得到很好的滾動運動,提高效率。
◆保養維護容易
相較於傳統的滑動系統,均有對於運行的軌道面進行鏟花或研磨的動作,因滑動所產生的磨耗往往使得機台一段時間就必須重新鏟花或研磨,曠日費時且成本極高,線性滑軌具有互換性,若進行更換或維修即可恢復機台之行走精度。
◆應用面
日常生活等需要調整定位,包括醫院病床、日本新幹線座椅、家具移動系統等等。
線性滑軌廣泛運用於各種精密機械、自動化、動力傳輸、半導體、醫療和航太等產業。
首先先行規劃機台結構架構型態,空間尺寸與力流配置,再進行驅動方式及導引系統之初步尺寸配置(如線性滑軌種類、型式與規格、安裝方法、線性滑軌跨距、線性滑軌的數量、長度及滑塊的數量等進行導引系統初步尺寸配置規劃)。
選擇步驟:
(1)滑軌型式:選擇適合的型式、尺寸與滑塊數目。
(2)負荷/等效負荷/安全係數的計算:計算出滑塊的負荷大小,並將多個滑塊所承受的各方向負荷換算成等效負荷,用基本額定靜負荷和最大負荷驗算靜的安全係數之值等。
(3)壽命計算:選根據壽命計算式算出行走距離,將行走距離換算成壽命時間。
(4)剛性選擇:選定徑向間隙及固定方法,之後決定安裝部位的剛性。
(5)選定精度及預壓:選定精度等級及預壓等級。

TBI MOTION 滑塊樣式:
根據使用方式如鎖固方式及組裝高度,決定滑塊形式。
滑塊型式區分為無法蘭及有法蘭型,其規格和組合高度如下圖所示

基本額定靜負荷:
線性滑軌在靜止或低速運行中承受過大或衝擊的負荷時,在滾動體與滾動面之間會產生局部的永久變形,這個永久變形量如果超過某個限度時,就會影響線性滑軌運動的順暢性。
所謂的基本額定靜負荷,是指在產生最大應力的接觸面處,使滾動體與滾動面間的永久變形量之總和達到滾動體直徑的0.0001倍時,方向和大小一定的靜止負荷。所以基本額定靜負荷即為容許靜負荷的限度。
容許靜力矩:
在線性滑軌上作用力矩時,使全球傳動線性滑軌發生軌道溝槽及鋼珠的永久變形,當永久便行量達到鋼珠的萬分之一時,我們稱這種作用力矩為滑座的基本容許靜力矩。
靜態安全係數:
當線性滑軌使用在有振動、衝擊或激烈的啟動停止情形,由於慣性力或力矩等外力的作用,會有大的負荷產生,對於這樣的負荷狀況,有必要考慮靜安全係數。
基本額定動負荷:
即使同一批製造出來的產品,在相同的條件下運動,線性滑軌的壽命也會有些許差異。因此,為了確定線性滑軌的壽命,一般使用以下定義的額定壽命。
所謂的額定壽命,是指一批相同規格的線性滑軌在同樣的條件下運動時, 其中的90%不產生表面疲勞剝落的現象所能行走的總體行距離。當線性滑軌承受負荷並運動時,為計算其壽命要使用基本額定動負荷。
所謂的基本額定動負荷,是指一批相同規格的線性滑軌在同樣的條件下運動時,當其滾動體為鋼珠時,其額定壽命為50km,而其滾動體為滾柱時,額定壽命為100km,方向和大小都不變的負荷。
壽命計算:
線性滑軌的額定壽命會因實際所承受的負荷而不同,可依照選用規格的基本額定動負荷和工作負荷來推算出使用壽命。線性滑軌的使用壽命會隨著運動狀態、滾動面的硬度與環境溫度而變化。
精度選擇:
全球傳動線性滑軌有五種精度供客戶選用(普通級,高級,精密級,超精密級,最頂級),依照使用情況正確的選用適合的精度非常重要,否則會發生機器精度不夠,例:工具機選用普通級滑軌或是增加無謂的成本,例:輸送機選用精密級滑軌。
預壓選擇:
a. 徑向間隙 - 線性滑軌的徑向間隙是指,線性滑軌固定時,在其長度的中央部,將滑塊微幅作上下移動, 這時滑塊中央部的徑向移動量。線性滑軌的徑向間隙分為5種:ZF(微間隙);Z0(零間隙); Z1(輕預壓); Z2(中預壓)及Z3(重預壓)。線性滑軌的徑向間隙, 對運行精度, 耐負荷性能及剛性都有明顯影響,因此根據用途適當地選擇間隙是很重要的。一般而言考慮到因往復運動而產生的振動衝擊,選擇負間隙對使用壽命及精度都會帶來較佳效果。
b.預壓 - 所謂預壓,其目的是為了增加滑塊的剛性,消除間隙等目的,預先給鋼珠施加的內部負荷。
全球傳動線性滑軌的間隙記號ZF、Z0、Z1、Z2及Z3 表示施加預壓後間隙值為負數。
![]()
![]()
1.注滑塊及滑軌在傾斜後可能因本身重量而落下,請小心注意。
2. 敲擊或摔落滑軌,即使外觀看不出破損,但可能造成功能上的損失,請小心注意。
3. 請勿自行分解滑塊,因可能導致異物進入或對組裝精度造成不利之影響。
![]()
1. 請先擦拭防鏽油後再注入潤滑油(脂)使用。
2. 請勿將不同性質之潤滑油(脂)混合使用。
3. 採用潤滑油潤滑時,會因不同安裝方式而異,請先與TBI MOTION業務專員聯絡。
![]()
1.使用環境溫度請勿超過80℃,瞬間溫度請勿超過100℃。
2. 請特殊環境下使用,例如:經常性振動、高粉塵、高低溫…,請先與TBI MOTION業務專員聯絡。
![]()
儲放線性滑軌時請確實塗上防鏽油,再封入指定的封套中並採水平放置,且避免高低溫差及高度潮濕易變質的環境中。